DIN STANDARDI
DIN DIN 934
DIN 934 AKB SOMUN
Eşdeğer ISO Normu
ISO 4032; CSN 021401; PN 82144; UNI 5588; EU 24032
Stok Karşılığı
AKB SOMUN
Orijinal Başlık (EN)
Hexagon nuts with metric coarse and fine pitch thread
Sistem Kayıt ID
#76
DIN 934 AKB SOMUNLARA BURADAN ULAŞABİLİRSİNİZ.
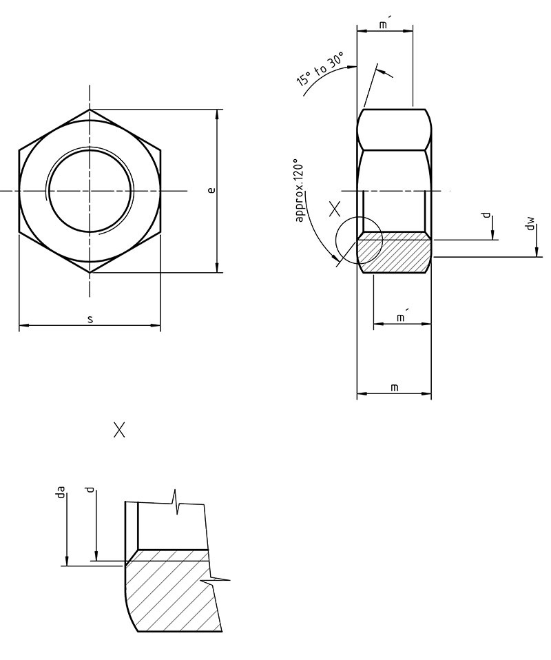
📊 Teknik Ölçü Tablosu
| Thread d | preferred threads |
M1,6 | M2 | M2,5 | M3 | M4 | M5 | M6 | M8 | M10 | M12 |
| P | 0,35 | 0,4 | 0,45 | 0,5 | 0,7 | 0,8 | 1 | 1,25 | 1,5 | 1,75 | |
| c | max. | 0,20 | 0,20 | 0,30 | 0,40 | 0,40 | 0,50 | 0,50 | 0,60 | 0,60 | 0,60 |
| min. | 0,10 | 0,10 | 0,10 | 0,15 | 0,15 | 0,15 | 0,15 | 0,15 | 0,15 | 0,15 | |
| da | max. | 1,84 | 2,30 | 2,90 | 3,45 | 4,60 | 5,75 | 6,75 | 8,75 | 10,80 | 13,00 |
| min. | 1,60 | 2,00 | 2,50 | 3,00 | 4,00 | 5,00 | 6,00 | 8,00 | 10,00 | 12,00 | |
| dw | min. | 2,40 | 3,10 | 4,10 | 4,60 | 5,90 | 6,90 | 8,90 | 11,60 | 14,60 | 16,60 |
| e | min. | 3,41 | 4,32 | 5,45 | 6,01 | 7,66 | 8,79 | 11,05 | 14,38 | 17,77 | 20,03 |
| m | max. | 1,30 | 1,60 | 2,00 | 2,40 | 3,20 | 4,70 | 5,20 | 6,80 | 8,40 | 10,80 |
| min. | 1,05 | 1,35 | 1,75 | 2,15 | 2,90 | 4,40 | 4,90 | 6,44 | 8,04 | 10,37 | |
| mw | min. | 0,80 | 1,10 | 1,40 | 1,70 | 2,30 | 3,50 | 3,90 | 5,20 | 6,40 | 8,30 |
| s | nominal = max. | 3,20 | 4,00 | 5,00 | 5,50 | 7,00 | 8,00 | 10,0 | 13,00 | 16,00 | 18,00 |
| min. | 3,02 | 3,82 | 4,82 | 5,32 | 6,78 | 7,78 | 9,78 | 12,73 | 15,73 | 17,73 | |
| Thread d | preferred threads |
M16 | M20 | M24 | M30 | M36 | M42 | M48 | M56 | M64 |
| P | 2 | 2,5 | 3 | 3,5 | 4 | 4,5 | 5 | 5,5 | 6 | |
| c | max. | 0,80 | 0,80 | 0,80 | 0,80 | 0,80 | 1,00 | 1,00 | 1,00 | 1,00 |
| min. | 0,20 | 0,20 | 0,20 | 0,20 | 0,20 | 0,30 | 0,30 | 0,30 | 0,30 | |
| da | max. | 17,30 | 21,60 | 25,90 | 32,40 | 38,90 | 45,40 | 51,80 | 60,50 | 69,10 |
| min. | 16,00 | 20,00 | 24,00 | 30,00 | 36,00 | 42,00 | 48,00 | 56,00 | 64,00 | |
| dw | min. | 22,50 | 27,70 | 33,30 | 42,80 | 51,10 | 60,00 | 69,50 | 78,70 | 88,20 |
| e | min. | 26,75 | 32,95 | 39,55 | 50,85 | 60,79 | 71,30 | 82,60 | 93,56 | 104,86 |
| m | max. | 14,80 | 18,00 | 21,50 | 25,60 | 31,00 | 34,00 | 38,00 | 45,00 | 51,00 |
| min. | 14,10 | 16,90 | 20,20 | 24,30 | 29,40 | 32,40 | 36,40 | 43,40 | 49,10 | |
| mw | min. | 11,30 | 13,50 | 16,20 | 19,40 | 23,50 | 25,90 | 29,10 | 34,70 | 39,30 |
| s | nominal = max. | 24,00 | 30,00 | 36,00 | 46,00 | 55,00 | 65,00 | 75,00 | 85,00 | 95,00 |
| min. | 23,67 | 29,16 | 35,00 | 45,00 | 53,80 | 63,10 | 73,10 | 82,80 | 92,80 | |
| Thread d | non-preferred threads |
M3,5 | M14 | M18 | M22 | M27 | M33 | M39 | M45 | M52 | M60 |
| P | 0,6 | 2 | 2,5 | 2,5 | 3 | 3,5 | 4 | 4,5 | 5 | 5,5 | |
| c | max. | 0,40 | 0,60 | 0,80 | 0,80 | 0,80 | 0,80 | 1,00 | 1,00 | 1,00 | 1,00 |
| min. | 0,15 | 0,15 | 0,20 | 0,20 | 0,20 | 0,20 | 0,30 | 0,30 | 0,30 | 0,30 | |
| da | max. | 4,00 | 15,10 | 19,50 | 23,70 | 29,10 | 35,60 | 42,10 | 48,60 | 56,20 | 64,80 |
| min. | 3,50 | 14,00 | 18,00 | 22,00 | 27,00 | 33,00 | 39,00 | 45,00 | 52,00 | 60,00 | |
| dw | min. | 5,00 | 19,60 | 24,90 | 31,40 | 38,00 | 46,60 | 55,90 | 64,70 | 74,20 | 83,40 |
| e | min. | 6,58 | 23,36 | 29,56 | 37,29 | 45,20 | 55,37 | 66,44 | 76,95 | 88,25 | 99,21 |
| m | max. | 2,80 | 12,80 | 15,80 | 19,40 | 23,80 | 28,70 | 33,40 | 36,00 | 42,00 | 48,00 |
| min. | 2,55 | 12,10 | 15,10 | 18,10 | 22,50 | 27,40 | 31,80 | 34,40 | 40,40 | 46,40 | |
| mw | min. | 2,00 | 9,70 | 12,10 | 14,50 | 18,00 | 21,90 | 25,40 | 27,50 | 32,30 | 37,10 |
| s | nominal = max. | 6,00 | 21,00 | 27,00 | 34,00 | 41,00 | 50,00 | 60,00 | 70,00 | 80,00 | 90,00 |
| min. | 5,82 | 20,67 | 26,16 | 33,00 | 40,00 | 49,00 | 58,80 | 68,10 | 78,10 | 87,80 | |
* Ölçüler milimetre (mm) cinsindendir. Tablodaki veriler genel bilgilendirme amaçlıdır.
⚖️ Hızlı Hesaplama
Bu standarttaki ürünlerin gramajını hesaplamak için hesaplama aracımızı kullanabilirsiniz.
Gramaj Hesaplayıcıya Git